Bijzonder Burgers kruisframe
Bijzonder Burgers kruisframe
Ik heb pas op marktplaats een kruisframe van Burgers gekocht. Een bijzonder geval met veel vraagtekens. Toen ik het zag staan dacht ik meteen, dit is geen Burgers maar een Simplex of Juncker met Burgers transfers. De verkoper mailde me echter het framenummer en dat was toch echt een Burgers framenummer (E59449), ook de transfers zagen er erg autentiek uit. Bijgevoegd een aantal foto's.
Dit model komt niet voor in de bekende catalogi van Burgers. Burgers heeft na de oorlog twee modellen verkocht met een vast kruis.
Het framenummer zou volgens de lijst, die Sjoerd en ik gemaakt hebben, ongeveer uit de oorlogsperiode moeten zijn. De transfers lijken echter weer van na de oorlog. De voorvork , het framenummer zijn echt Burgers. Bijzonder zijn ook het "mannetje" in de achtervork waar het spatbord aan vast zit en de aansluiting voor een verlichtingssnoer aan de liggende achtervork.
De fiets is niet helemaal compleet, het achterwiel en de rechtercrank met kettingblad ontbreken, die waren volgens de verkoper al vervangen.
ik heb nu de volgende mogelijkheden bedacht:
1. dit is een echt Burgers fabrikaat , ze wilden in of na de oorlog ook met een eigen kruisframe komen en hebben ook dit model bij wijze van proef gemaakt , maar uiteindelijk niet echt in productie genomen.
2. in de oologsperiode hebben ze bij gebrek aan materiaal ook frames van andere fabrieken gebruikt en afgemonteerd als Burgers fiets.
de volgende onderdelen zijn mogelijk ook nog van belang:
- de aansluiting voor het verlichtingssnoer op de achtervork: in 1949 heeft Burgers octooi gekregen op zo'n aansluiting.
- de nog bewaarde crank heeft een driehoekig Burgers logo. ik ken dit in ieder geval van een fiets uit 1952.
- het stuur , daar heb ik mijn twijfels over. Het is een celluloid stuur. Er zit een gaatje in geboord om het verlichtingssnoertje door te voeren. Het stuur zou best een keer vervangen kunnen zijn.
Ik zou graag willen weten of dit model nu identiek is aan dat van Simplex of Juncker of dat het echt eigen kenmerken heeft. Dus willen degenen die een Simples of Juncker hebben eens goed kijken of er verschillen zijn.
ik kan dit frame ook wel meenemen naar de nieuwjaarsbijeenkomst.
groet Theo
Dit model komt niet voor in de bekende catalogi van Burgers. Burgers heeft na de oorlog twee modellen verkocht met een vast kruis.
Het framenummer zou volgens de lijst, die Sjoerd en ik gemaakt hebben, ongeveer uit de oorlogsperiode moeten zijn. De transfers lijken echter weer van na de oorlog. De voorvork , het framenummer zijn echt Burgers. Bijzonder zijn ook het "mannetje" in de achtervork waar het spatbord aan vast zit en de aansluiting voor een verlichtingssnoer aan de liggende achtervork.
De fiets is niet helemaal compleet, het achterwiel en de rechtercrank met kettingblad ontbreken, die waren volgens de verkoper al vervangen.
ik heb nu de volgende mogelijkheden bedacht:
1. dit is een echt Burgers fabrikaat , ze wilden in of na de oorlog ook met een eigen kruisframe komen en hebben ook dit model bij wijze van proef gemaakt , maar uiteindelijk niet echt in productie genomen.
2. in de oologsperiode hebben ze bij gebrek aan materiaal ook frames van andere fabrieken gebruikt en afgemonteerd als Burgers fiets.
de volgende onderdelen zijn mogelijk ook nog van belang:
- de aansluiting voor het verlichtingssnoer op de achtervork: in 1949 heeft Burgers octooi gekregen op zo'n aansluiting.
- de nog bewaarde crank heeft een driehoekig Burgers logo. ik ken dit in ieder geval van een fiets uit 1952.
- het stuur , daar heb ik mijn twijfels over. Het is een celluloid stuur. Er zit een gaatje in geboord om het verlichtingssnoertje door te voeren. Het stuur zou best een keer vervangen kunnen zijn.
Ik zou graag willen weten of dit model nu identiek is aan dat van Simplex of Juncker of dat het echt eigen kenmerken heeft. Dus willen degenen die een Simples of Juncker hebben eens goed kijken of er verschillen zijn.
ik kan dit frame ook wel meenemen naar de nieuwjaarsbijeenkomst.
groet Theo
- Bijlagen
-
- IMG_6798.JPG (98.13 KiB) 5925 keer bekeken
-
- IMG_6800.JPG (203.71 KiB) 5925 keer bekeken
-
- IMG_6801.jpg (374.03 KiB) 5925 keer bekeken
-
- IMG_6804.jpg (399.6 KiB) 5925 keer bekeken
-
- IMG_6805.jpg (422.17 KiB) 5925 keer bekeken
-
- IMG_6802.JPG (97.68 KiB) 5925 keer bekeken
-
- IMG_6810.jpg (332.04 KiB) 5925 keer bekeken
-
- IMG_6811.jpg (418.52 KiB) 5925 keer bekeken
-
- IMG_6812.jpg (366.14 KiB) 5925 keer bekeken
-
- IMG_6817.jpg (424.2 KiB) 5925 keer bekeken
Website over de Burgers rijwielfabriek| www.burgers-enr.net
-
x-frames
Re: Bijzonder Burgers kruisframe
Theo
Ik heb bij mijn Simplex en Juncker gekeken de verbindingen van de zadelbuis naar de twee dunne pijpjes is bij alle twee anders dan die burgers,tevens heeft Simplex twee keer een verbinding
naar de dunne pijpjes nl bij zadelbuis en nog een keer naar boven toe
Groet gerrit hendriksen
Ik heb bij mijn Simplex en Juncker gekeken de verbindingen van de zadelbuis naar de twee dunne pijpjes is bij alle twee anders dan die burgers,tevens heeft Simplex twee keer een verbinding
naar de dunne pijpjes nl bij zadelbuis en nog een keer naar boven toe
Groet gerrit hendriksen
Re: Bijzonder Burgers kruisframe
mijn Juncker uit 57 is totaal anders (op details), maar de vooroorlogse Junckers ken ik niet.
Leuke vondst!
Leuke vondst!
Meer weten over een specifiek merk of model hoge bi of safety van voor 1895? http://www.antique-bicycles.net
Re: Bijzonder Burgers kruisframe
Bijzondere fiets, erg mooi. Je stuur doet me een beetje Belgisch aan met die brede lug in het midden. Nederlandse sturen hadden slechts een bescheiden lugje, niet?
Groeten, Y.
Groeten, Y.
Sportief fietsend!
-
Maarten Waarlé
- Berichten: 2759
- Lid geworden op: 5 jun 2012, 21.49
Re: Bijzonder Burgers kruisframe
Interessante vonst Theo,
En zeker voor jou als Burgers-onderzoeker.
De bevestiging van het achterspatbord op de staande achtervork is dat niet standaard voor de Burgers-modellen die zo`n naar de staande achtervork duikende bagagedrager hebben?
Dat zat toch ook met twee schroeven vast plat op het spatbord.
Of was dat weer anders gemaakt dan wat we hier zien?
Groeten,
Maarten
En zeker voor jou als Burgers-onderzoeker.
De bevestiging van het achterspatbord op de staande achtervork is dat niet standaard voor de Burgers-modellen die zo`n naar de staande achtervork duikende bagagedrager hebben?
Dat zat toch ook met twee schroeven vast plat op het spatbord.
Of was dat weer anders gemaakt dan wat we hier zien?
Groeten,
Maarten
Re: Bijzonder Burgers kruisframe
bedankt voor de reacties.
Ik denk dat het echt een Burgers is.
De bevesting van het achterspatbord is door Burgers gebruikt om de bagagedrager op te monteren. Henk Hutten mailde me een foto hiervan van zijn fiets uit 1955. zie bijlage.
Bij mijn frame zit er een andere drager op maar die is aan de achtervork gelast. vermoedelijk een latere actie van iemand.
Ik zie dit model drager in de catalogus van 1953 alleen op sportfietsen, in latere catalogi op tourfietsen, zoals die van Henk van 1955.
Het stuur is niet origineel. Er zal een chromen stuur op gezeten hebben. De lamphaak is ook vervangen. Ik denk dat er van oorsprong een losse lamphaak met gaatje voor het snoer op heeft gezeten. Die zit in ieder geval ook op mijn Burgers kruisframe met framenummer E60282. zie foto hieronder. In het stuur wat er nu opzit hebben ze vrij primitief een gaatje geboord voor het snoertje. In de balhoofdbuis is het snoertje met een half kroonsteentje vebonden met het originele snoertje. Vast een latere aanpassing.
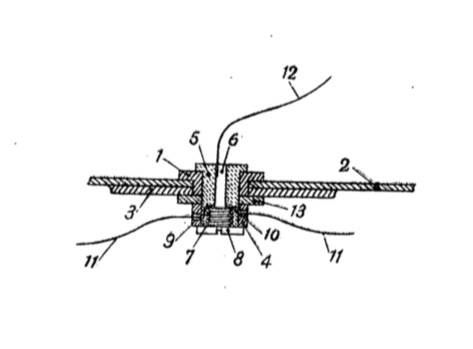
Die aansluiting voor het snoertje op de achterpad van de achtervork vind ik interessant , mogelijk is dit dus het patent dat Burgers in 1949 heeft gekregen. zie bijgevoegde afbeelding uit dat patent.
Ik zoek nu dus een rechtercrank met kettingblad met het driehoekige Burgerlogo uit ca. 1950. Als iemand zoiets heeft liggen??
Ik denk dat het echt een Burgers is.
De bevesting van het achterspatbord is door Burgers gebruikt om de bagagedrager op te monteren. Henk Hutten mailde me een foto hiervan van zijn fiets uit 1955. zie bijlage.
Bij mijn frame zit er een andere drager op maar die is aan de achtervork gelast. vermoedelijk een latere actie van iemand.
Ik zie dit model drager in de catalogus van 1953 alleen op sportfietsen, in latere catalogi op tourfietsen, zoals die van Henk van 1955.
Het stuur is niet origineel. Er zal een chromen stuur op gezeten hebben. De lamphaak is ook vervangen. Ik denk dat er van oorsprong een losse lamphaak met gaatje voor het snoer op heeft gezeten. Die zit in ieder geval ook op mijn Burgers kruisframe met framenummer E60282. zie foto hieronder. In het stuur wat er nu opzit hebben ze vrij primitief een gaatje geboord voor het snoertje. In de balhoofdbuis is het snoertje met een half kroonsteentje vebonden met het originele snoertje. Vast een latere aanpassing.
Die aansluiting voor het snoertje op de achterpad van de achtervork vind ik interessant , mogelijk is dit dus het patent dat Burgers in 1949 heeft gekregen. zie bijgevoegde afbeelding uit dat patent.
Ik zoek nu dus een rechtercrank met kettingblad met het driehoekige Burgerlogo uit ca. 1950. Als iemand zoiets heeft liggen??
- Bijlagen
-
- achtervork burgers uit 1955
- 20141223_220526.jpg (218.75 KiB) 5812 keer bekeken
-
- tekening burgers octrooi 1949
- burger octrooi verlichtingskabel aansluiting.jpg (20.6 KiB) 5820 keer bekeken
-
- stuur met losse lamphaak fiets framenr. E60282
- IMG_6819.jpeg (256.98 KiB) 5820 keer bekeken
Website over de Burgers rijwielfabriek| www.burgers-enr.net
Re: Bijzonder Burgers kruisframe
ik heb de voorvork van deze fiets er uitgehaald. Er zit een bijzondere constructie in om de verlichtingssnoertjes weg te werken.
In de voorvorkbuis zit geisoleerde bus waarvan de koperen binnenkant contact maakt met een sleepcontact dat in de vorkbuis zit. Het verlichtingssnoer loopt vervolgens van deze buis door het frame naar het aansluitpunt op de achtervork (zie eerdere foto).
Vanaf het stuur loopt ook nog een snoertje door de vorkbuis en via een gat in de vorkkroon naar de aansluiting voor de dynamohaak. Jammergenoeg is de originele dynamohaak er af en door een prutser vervangen . Deze aansluiting naar de dynamohaak is een voorloper van het octrooi dat Burgers in 1958 heeft gekregen (zie mijn website http://www.burgers-enr.net).
Het lijkt dus al met al een fiets waarop verschillende dingen zijn uitgeprobeerd. Mogelijk is deze fiets ooit als testexemplaar aan een medewerker van de fabriek verkocht of gegeven. jammergenoeg is de historie van deze fiets niet meer te achterhalen. Ik heb dit nog wel geprobeerd. Maar de fiets is in Enschede bij een fietsenmaker ingeruild door een student. Naam niet meer te achterhalen.
Theo
In de voorvorkbuis zit geisoleerde bus waarvan de koperen binnenkant contact maakt met een sleepcontact dat in de vorkbuis zit. Het verlichtingssnoer loopt vervolgens van deze buis door het frame naar het aansluitpunt op de achtervork (zie eerdere foto).
Vanaf het stuur loopt ook nog een snoertje door de vorkbuis en via een gat in de vorkkroon naar de aansluiting voor de dynamohaak. Jammergenoeg is de originele dynamohaak er af en door een prutser vervangen . Deze aansluiting naar de dynamohaak is een voorloper van het octrooi dat Burgers in 1958 heeft gekregen (zie mijn website http://www.burgers-enr.net).
Het lijkt dus al met al een fiets waarop verschillende dingen zijn uitgeprobeerd. Mogelijk is deze fiets ooit als testexemplaar aan een medewerker van de fabriek verkocht of gegeven. jammergenoeg is de historie van deze fiets niet meer te achterhalen. Ik heb dit nog wel geprobeerd. Maar de fiets is in Enschede bij een fietsenmaker ingeruild door een student. Naam niet meer te achterhalen.
Theo
- Bijlagen
-
- snoertje via gat in vorkkroon naar dynamohaak.
- IMG_6836.jpeg (59.87 KiB) 5763 keer bekeken
-
- sleepcontact in vorkbuis
- IMG_6829.jpeg (72.87 KiB) 5763 keer bekeken
-
- sleepcontact in vorkbuis er uit gehaald
- IMG_6830.jpeg (62.86 KiB) 5763 keer bekeken
-
- geisoleerde koperen bus in voorvorkbuis
- IMG_6834.jpeg (57.92 KiB) 5763 keer bekeken
Website over de Burgers rijwielfabriek| www.burgers-enr.net
Re: Bijzonder Burgers kruisframe
Mooie bedachte constructie , maar wel een dure manier om de spanning over te brengen door de extra onderdelen .
Leuk omdat aan te treffen op deze fiets die steeds meer vragen oproept en minder antwoorden geeft .
Leuk omdat aan te treffen op deze fiets die steeds meer vragen oproept en minder antwoorden geeft .
Re: Bijzonder Burgers kruisframe
ik heb nog eens verder gezocht en alle catalogi van na de oorlog bekeken.
De fiets heeft een aantal duidelijke kenmerken van eind jaren '50
- in de voorvork zit de octooi lichtaansluiting waarop ze in 1958 octrooi hebben gekregen. Als ik het sierkapje van de vork er af haal zit aan de ene kant een gat om het snoertje door te kunnen leiden (zie foto). Dit is onderdeel geweest van de octrooi aanvraag en zit ook op de fiets die ik beschreven heb in het rijwiel 2013/2 (zie ook mijn website bij onderdelen http://www.burgers-enr.net.) De dynamohaak is er bij dit kruisframe echter af en vervangen door een aangelast ding. Heeft er ongetwijfeld wel op gezeten.
- de bevestiging voor de bagagedrager is aan de achtervork gelast. Dat deed Burgers eind jaren '50 op de meeste modellen.
De fiets lijkt qua uitvoering nog het meest op model Riche uit de catalogus van 1960. Die fiets heeft ook het snoertje dat in de stuurbuis verdwijnt. Ik meen bij de damesfiets ook het "platte" mannetje op de staande achtervork te zien. Bij het herenmodel Riche uit deze catalogus meen ik ook te zien dat het snoertje van de dynamo in de dynamohaak verdwijnt. De lamphaak die er nu opzit zou dan ook best origineel kunnen zijn.
Het zou dus best kunnen dat dit kruisframe uit een oude voorraad komt (experimenteel model, dat was blijven liggen) en dat het omstreeks 1960 is opgebouwd.
Maar het blijft gissen.
ik ben nu wel benieuwd geworden naar origininele Burgers model Riche fietsen uit 59/60. zit daar in het balhoofd ook zo'n systeem in om de verlichtingsdraadjes weg te werken? Die fietsen moeten er vast nog wel zijn.
groet Theo
De fiets heeft een aantal duidelijke kenmerken van eind jaren '50
- in de voorvork zit de octooi lichtaansluiting waarop ze in 1958 octrooi hebben gekregen. Als ik het sierkapje van de vork er af haal zit aan de ene kant een gat om het snoertje door te kunnen leiden (zie foto). Dit is onderdeel geweest van de octrooi aanvraag en zit ook op de fiets die ik beschreven heb in het rijwiel 2013/2 (zie ook mijn website bij onderdelen http://www.burgers-enr.net.) De dynamohaak is er bij dit kruisframe echter af en vervangen door een aangelast ding. Heeft er ongetwijfeld wel op gezeten.
- de bevestiging voor de bagagedrager is aan de achtervork gelast. Dat deed Burgers eind jaren '50 op de meeste modellen.
De fiets lijkt qua uitvoering nog het meest op model Riche uit de catalogus van 1960. Die fiets heeft ook het snoertje dat in de stuurbuis verdwijnt. Ik meen bij de damesfiets ook het "platte" mannetje op de staande achtervork te zien. Bij het herenmodel Riche uit deze catalogus meen ik ook te zien dat het snoertje van de dynamo in de dynamohaak verdwijnt. De lamphaak die er nu opzit zou dan ook best origineel kunnen zijn.
Het zou dus best kunnen dat dit kruisframe uit een oude voorraad komt (experimenteel model, dat was blijven liggen) en dat het omstreeks 1960 is opgebouwd.
Maar het blijft gissen.
ik ben nu wel benieuwd geworden naar origininele Burgers model Riche fietsen uit 59/60. zit daar in het balhoofd ook zo'n systeem in om de verlichtingsdraadjes weg te werken? Die fietsen moeten er vast nog wel zijn.
groet Theo
- Bijlagen
-
- vorkkroon met gat om het verlichtingsnoertje door te kunnen steken.
- vorkkroon met gat .jpeg (91.22 KiB) 5698 keer bekeken
Website over de Burgers rijwielfabriek| www.burgers-enr.net